Automotive Forums .com - the leading automotive community online! Automotive Forums .com - the leading automotive community online!
Automotive Forums .com - the leading automotive community online! 
-
Latest | 0 Rplys

Stop Feeding Overpriced Junk to Your Dogs!

GET HEALTHY AFFORDABLE DOG FOOD
DEVELOPED BY THE AUTOMOTIVEFORUMS.COM FOUNDER & THE TOP AMERICAN BULLDOG BREEDER IN THE WORLD THROUGH DECADES OF EXPERIENCE. WE KNOW DOGS.
CONSUMED BY HUNDREDS OF GRAND FUTURE AMERICAN BULLDOGS FOR YEARS.
NOW AVAILABLE TO THE GENERAL PUBLIC FOR THE FIRST TIME
PROPER NUTRITION FOR ALL BREEDS & AGES
TRY GRAND FUTURE AIR DRIED BEEF DOG FOOD
Go Back   Automotive Forums .com Car Chat > Chevrolet > Lumina
Register FAQ Community Arcade Calendar
Reply Show Printable Version Show Printable Version | Email this Page Email this Page | Subscription Subscribe to this Thread
 
Thread Tools
Old 06-18-2008, 11:50 AM   #1
corvette5001
AF Newbie
 
Join Date: Jun 2008
Location: Bonner Springs, Kansas
Posts: 3
Thanks: 0
Thanked 0 Times in 0 Posts
1993 code 42

I got a code 42 recently on my 93 Lumina and I was wondering how exactly to remove the ignition control module. I can find one bolt just fine but cant find any others. Thanks.
corvette5001 is offline   Reply With Quote
Old 06-18-2008, 03:53 PM   #2
maxwedge
A990 racer
 
Join Date: Mar 2002
Location: Chestertown, New York
Posts: 17,050
Thanks: 26
Thanked 383 Times in 374 Posts
Re: 1993 code 42

Tough to get to, underneath, most people jack the engine up to access it.
__________________
maxwedge is offline   Reply With Quote
Old 06-19-2008, 06:50 PM   #3
Z15
AF Regular
 
Z15's Avatar
 
Join Date: Jul 2007
Location: Lake Superior, Michigan
Posts: 172
Thanks: 0
Thanked 3 Times in 3 Posts
Re: 1993 code 42

I had mine replaced on my 93 3.1L and the GM tech did not have any problems removing it but he did say he has replaced a lot of them. So much so that they stock them all the time.

Wait till you find out how much they cost? Seems the only source is GM or AC Delco and the list is over $300.

Note - Not ling after the ignition module was replaced the ECM failed.

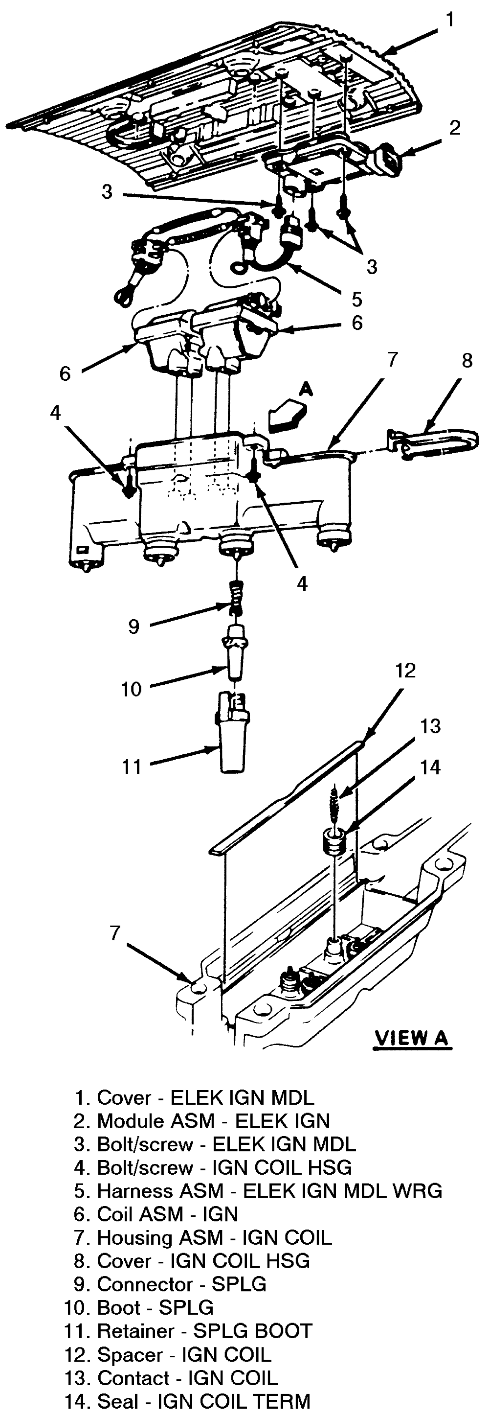
I found a diagram., follow link to R&R guide
http://www.autozone.com/addVehicleId...00c15280067bbc

__________________
Mike
2010 GMC Sierra SLT E. Cab Z71 All Terrain
2009 Cadillac CTS4 3.6L AWD Performance Sedan
Z15 is offline   Reply With Quote
 
Reply

POST REPLY TO THIS THREAD

Go Back   Automotive Forums .com Car Chat > Chevrolet > Lumina


Posting Rules
You may not post new threads
You may not post replies
You may not post attachments
You may not edit your posts

BB code is On
Smilies are On
[IMG] code is On
HTML code is Off



All times are GMT -5. The time now is 03:03 PM.

Community Participation Guidelines | How to use your User Control Panel

Powered by: vBulletin | Copyright Jelsoft Enterprises Ltd.
 
 
no new posts