Power Sliding Door Latch
so2315
05-29-2008, 11:38 PM
I have a 2000 Windstar SEL I bought new. Since day 1 the passengers side door has been tempermental. The dealer can never figure it out, but I was able to with my Torx sockets and some time.
Anyway's, the passengers rear door lock actuator has been real slow in working, sometimes having to be manually pulled up. Tonight the wife came home and said the lock will not come up, and she tried pulling up on the knob and it will not budge! I went out and tried to lift the knob myself and there was solid resistance. The handles to open the door were also jammed and not moving.
I get the door panel off, and start looking at the lock mechanism. I could not get the lock to unlock until I stuck a screw driver in the roller basically locks the handle from working. This has a cut track with a 90 degree bend in it and the lock would not quite make the bend. I lube everything up, and all works well so I put the door panel back on and try opening it. The door makes a noise, moves a fraction of an inch and stops. The lock is also now bound up again. I tear everything apart and look at the door mechanism with the panel off. It appears that there may be another motor inside of the mechanism that powers the latch and this is not quite moving the latch as far as it should.
Do I need to replace the whole mechanism? I see a cable that ges from the inside handle and another cable going to the rear.
Does anybody have any ideas? Is there a power actuator that moves thgat latch?
Anyway's, the passengers rear door lock actuator has been real slow in working, sometimes having to be manually pulled up. Tonight the wife came home and said the lock will not come up, and she tried pulling up on the knob and it will not budge! I went out and tried to lift the knob myself and there was solid resistance. The handles to open the door were also jammed and not moving.
I get the door panel off, and start looking at the lock mechanism. I could not get the lock to unlock until I stuck a screw driver in the roller basically locks the handle from working. This has a cut track with a 90 degree bend in it and the lock would not quite make the bend. I lube everything up, and all works well so I put the door panel back on and try opening it. The door makes a noise, moves a fraction of an inch and stops. The lock is also now bound up again. I tear everything apart and look at the door mechanism with the panel off. It appears that there may be another motor inside of the mechanism that powers the latch and this is not quite moving the latch as far as it should.
Do I need to replace the whole mechanism? I see a cable that ges from the inside handle and another cable going to the rear.
Does anybody have any ideas? Is there a power actuator that moves thgat latch?
so2315
05-29-2008, 11:49 PM
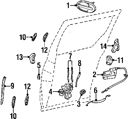
I have found a diagram of what I am taking about. It is the door latch assembly, number 4 in the diagram. Does anybody know if the actuator is part of this? It must have some sort of power to unlatch the latch when opening from pushbutton or remote. It costs roughly $80, and I hope it is easy enough for me to replace. Does anybody have prior experience replacing these?
http://img.photobucket.com/albums/0803/so2315/MT99950.gif
http://img.photobucket.com/albums/0803/so2315/MT99950.gif
Automotive Network, Inc., Copyright ©2026
