Code 51 & EGR 94 1.0 L
W00dy
03-18-2008, 08:29 PM
I Got a code 51 so I cleaned out the EGR valve & passages with brake cleaner, small bottle brush, dental pick & compressed air.
put it all back together when I press in on diaphragm while the engine is idling it will stall out so I know the passages are not clogged.
I reset the computer went for a drive and still get a code 51.
Anyone have some suggestions of what I should check next?
Thanks,
W00dy
94 1.0 L
5 spd
put it all back together when I press in on diaphragm while the engine is idling it will stall out so I know the passages are not clogged.
I reset the computer went for a drive and still get a code 51.
Anyone have some suggestions of what I should check next?
Thanks,
W00dy
94 1.0 L
5 spd
91Caprice9c1
03-18-2008, 08:47 PM
Vacuum routing and transducer. Refer to your underhood diagram for proper hose routes.
-------------------
Transducer testing procedure. Courtesy of AllData:
http://i77.photobucket.com/albums/j64/isc20/78506476.gif
1. Check the filter (1) for any contamination and damage. Clean the filter with compressed air.
2. Remove the three vacuum hoses from the Exhaust Gas Recirculation (EGR) back pressure transducer.
http://i77.photobucket.com/albums/j64/isc20/78506480.gif
3. Place one finger over the vacuum tube of the EGR back pressure transducer (1).
4. Blow air (2) into the opposite tube. Air should pass through the filter part of the pressure transducer.
http://i77.photobucket.com/albums/j64/isc20/78506481.gif
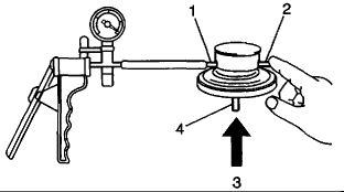
5. Connect a hand vacuum pump to tube P (1) and plug tube O (2) with your finger.
6. Blow air (3) into tube A (4) while applying vacuum to tube P (1) at the same time. You should be able to obtain vacuum on the vacuum pump gauge.
7. Stop blowing air into tube A (4). The vacuum pump gauge should read zero.
Replace the EGR back pressure transducer if the transducer fails either test.
-------------------------
-MechanicMatt
-------------------
Transducer testing procedure. Courtesy of AllData:
http://i77.photobucket.com/albums/j64/isc20/78506476.gif
1. Check the filter (1) for any contamination and damage. Clean the filter with compressed air.
2. Remove the three vacuum hoses from the Exhaust Gas Recirculation (EGR) back pressure transducer.
http://i77.photobucket.com/albums/j64/isc20/78506480.gif
3. Place one finger over the vacuum tube of the EGR back pressure transducer (1).
4. Blow air (2) into the opposite tube. Air should pass through the filter part of the pressure transducer.
http://i77.photobucket.com/albums/j64/isc20/78506481.gif
5. Connect a hand vacuum pump to tube P (1) and plug tube O (2) with your finger.
6. Blow air (3) into tube A (4) while applying vacuum to tube P (1) at the same time. You should be able to obtain vacuum on the vacuum pump gauge.
7. Stop blowing air into tube A (4). The vacuum pump gauge should read zero.
Replace the EGR back pressure transducer if the transducer fails either test.
-------------------------
-MechanicMatt
W00dy
03-18-2008, 10:51 PM
Thanks MechanicMatt.
I tested the Transducer/Modulator I think it's bad.
My hand vacuum pump leaks so I will get a new pump and retest.
W00dy
I tested the Transducer/Modulator I think it's bad.
My hand vacuum pump leaks so I will get a new pump and retest.
W00dy
W00dy
03-26-2008, 06:54 PM
....Update....
The Transducer/Modulator was bad.
I replaced it last week the check engine light has stayed off so I think I got it fixed.
thanks,
W00dy
The Transducer/Modulator was bad.
I replaced it last week the check engine light has stayed off so I think I got it fixed.
thanks,
W00dy
91Caprice9c1
03-27-2008, 03:33 PM
Good work! Did you get your transducer new or used? If new, from where?
-MechanicMatt
-MechanicMatt
W00dy
03-27-2008, 09:45 PM
I got it used.
The cheapest I found online with S&H was $83 and locally was $130.
W00dy
The cheapest I found online with S&H was $83 and locally was $130.
W00dy
Automotive Network, Inc., Copyright ©2026
