97 Metro speedometer quit
GeoRandy
03-10-2008, 09:31 PM
Hey guys. My battery went bad and I got tired of parking on hills (ha-ha just for a couple days till the weekend came so I could replace it), anyway, I replaced my battery over the weekend and didn't drive it until today. I noticed that the speedometer and odometer were not working at all. Is there a fuse that powers the speedometer/odometer and little green light that tells me when to shift gears, lol? It's raining cats and dogs and I don't feel like getting real wet so I thought I'd ask someone who knows. I don't see a cable hanging loose as it sits there in the rain. Is the speedometer powered by a fused circuit or do I have a different problem. Oh, yeah, if it is a fuse....what size and which fuse box (dash or hood)?
Thanks a lot. Just tryin' to stay dry here.
Thanks a lot. Just tryin' to stay dry here.
dwendt1978
03-10-2008, 10:46 PM
You should be able to trace the speedo cable to the transmission to see if it is loose. If you remove it from the transmission you can have a look at the plastic gear that might be stripped.
If that's all good, check behind your gauge cluster. Will really only be able to feel by your hand, but enough to tell what's going on.
It isn't a fuse as the Speedo and Odometer are mechanical.
Sounds like you might get wet! :grinno:
If that's all good, check behind your gauge cluster. Will really only be able to feel by your hand, but enough to tell what's going on.
It isn't a fuse as the Speedo and Odometer are mechanical.
Sounds like you might get wet! :grinno:
GeoRandy
03-12-2008, 09:14 AM
I checked it out behind the guage cluster....all seems fine. I pulled the keeper where the cable enters the tranny....it too seems fine. There are two wires that lead out of the tube that goes into the tranny and has a keeper that secures the cable. The tube says 12V-only, on it. There is a black wire and a red wire coming out of that tube. Like I said, I let the battery go real bad and was parking on hills to start it because I didn't have time to get a battery and install it. It was dead for about two weeks. The speedo went bad after I replaced the battery (doesn't move at all). Are you sure it can't be electrical? The little green shift light that tells you when to shift for the best fuel-to-mileage ratio does NOT come on anymore either. It must have electricity going to it. I checked all the fuses under the hood and they all seem fine. Are there any under the dash that maybe I don't know about? Any help is appreciated.
GeoRandy
03-15-2008, 05:22 PM
Anybody out there familiar with this?
91Caprice9c1
03-15-2008, 10:22 PM
As dwen said, it's all mechanical and that's all there is to it. The shift light is activated by the ECM based on the information it gathers from the mechanical system that drives the speedometer and odometer mechanism. The only electrical stuff on manual cars is the reverse light switch.
You've got a plastic gear that meshes with another plastic gear on the differential cage inside the transmission. This connects to a cable that runs to the back of your instrument cluster and spins the speedometer/odometer mechanism.
Pull the cable off the transmission, and watch the shaft that normally engages the speedo cable. It should turn while the car moves.
Then spin the end of the cable in quick bursts, this should make your speedometer dance. If it doesn't, remove the cable from the car and inspect for a break by verifying that turning one end results in the other end turning.
If that's all fine the problem is inside the cluster, at which point I can't help you anymore. I've never had to dig into one.
Best of luck.
-MechanicMatt
You've got a plastic gear that meshes with another plastic gear on the differential cage inside the transmission. This connects to a cable that runs to the back of your instrument cluster and spins the speedometer/odometer mechanism.
Pull the cable off the transmission, and watch the shaft that normally engages the speedo cable. It should turn while the car moves.
Then spin the end of the cable in quick bursts, this should make your speedometer dance. If it doesn't, remove the cable from the car and inspect for a break by verifying that turning one end results in the other end turning.
If that's all fine the problem is inside the cluster, at which point I can't help you anymore. I've never had to dig into one.
Best of luck.
-MechanicMatt
GeoRandy
03-19-2008, 03:28 PM
Ok, I disconnected the speedo cable from the tube that it fits in that in turn goes into the transmsn. Turning the cable makes the speedo needle dance. The tube is a Vehicle Speed Sensor (VSS), from what I've been able to determine. It has two black wires coming out of it and it reads 12 volt only.
The mechanic at the auto shop told me the code says the VSS is bad and it must be replaced in order for the computer to reboot correctly and do the required checks needed to pass the vehicle inspection so I can be legal in Texas. So, I went to the local library to find a reference book but couldn't find much for Geo Metro 1997. I did find out that the VSS also it connected to a Performance Control Module (PCM). The service station did give me an inspection sticker so I can drive it but still I have no speedometer/odometer and don't have the little green light that indicates the best shift points for fuel economy. The mechanic also said that the VSS is a dealer only part and runs $600.00 for just the part. He said I might try junkyards to find a cheaper way of affording it. I hate safety inspections. I had to purchase a new brake booster while it was in there because car wouldn't pass without the booster working. Heck, this little Fred Flinstone car....I could stop it by using my foot. What the heck do these little cars need brake boosters for? $185.00 + labor, an oxyger sensor + labor and $40.00 for an inspection sticker, plus the computer diagnosis and still the codes will not clear and come up. The check engine light stays on all the time too. A-a-a-r-g-h! The little cars runs like a top and gets me where I want to go fine. The a/c keeps me cold in the summer, dry when it rains, and gets 45 mpg. I just want it to be fine and not cause me these headaches at the safety inspection station next year. Anybody know where to get a VSS online cheap?
The mechanic at the auto shop told me the code says the VSS is bad and it must be replaced in order for the computer to reboot correctly and do the required checks needed to pass the vehicle inspection so I can be legal in Texas. So, I went to the local library to find a reference book but couldn't find much for Geo Metro 1997. I did find out that the VSS also it connected to a Performance Control Module (PCM). The service station did give me an inspection sticker so I can drive it but still I have no speedometer/odometer and don't have the little green light that indicates the best shift points for fuel economy. The mechanic also said that the VSS is a dealer only part and runs $600.00 for just the part. He said I might try junkyards to find a cheaper way of affording it. I hate safety inspections. I had to purchase a new brake booster while it was in there because car wouldn't pass without the booster working. Heck, this little Fred Flinstone car....I could stop it by using my foot. What the heck do these little cars need brake boosters for? $185.00 + labor, an oxyger sensor + labor and $40.00 for an inspection sticker, plus the computer diagnosis and still the codes will not clear and come up. The check engine light stays on all the time too. A-a-a-r-g-h! The little cars runs like a top and gets me where I want to go fine. The a/c keeps me cold in the summer, dry when it rains, and gets 45 mpg. I just want it to be fine and not cause me these headaches at the safety inspection station next year. Anybody know where to get a VSS online cheap?
91Caprice9c1
03-20-2008, 01:13 AM
Ok, I disconnected the speedo cable from the tube that it fits in that in turn goes into the transmsn. Turning the cable makes the speedo needle dance.
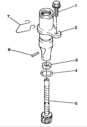
What this means to you is that the failure has to do with the speedometer gear shown below. Remove this piece from the transmission and inspect the nylon gears for wear.
http://i77.photobucket.com/albums/j64/isc20/78829411.gif
The tube is a Vehicle Speed Sensor (VSS), from what I've been able to determine. It has two black wires coming out of it and it reads 12 volt only.
The mechanic at the auto shop told me the code says the VSS is bad and it must be replaced...
You're wrong and your mechanic is wrong. The VSS is located inside the instrument cluster and is driven by the cable from the transmission. As I told you before the ONLY electrical thing on that transmission is the REVERSE LIGHT switch, which is what you're describing here. The reason you're getting a DTC for the VSS is because your speedometer gear (bolted to trans) is not spinning the cable for some reason and the PCM (POWERTRAIN control module, btw) is not getting a signal from the VSS located inside the INSTRUMENT cluster as a result.
...still I have no speedometer/odometer and don't have the little green light that indicates the best shift points for fuel economy.
The PCM needs pulses from the VSS in order to know when to illuminate the shift light. The odometer is not working because it is driven by the speedometer.
Don't buy a VSS. It is not your problem. Do what I told you to do and report back and we can go from there.
Also, be sure your speedo cable is seated all the way down before we go any further. The end of the cable should sink about 1/2in. down into the speedo gear housing. If you're unsure, stop on some flat ground with the car in neutral and the parking brake off so you can push the car while you push the cable down into the speedo gear housing, this is a surefire way to sink it down all the way.
Another thing you should do before posting back and probably before removing the speedo gear from the trans is:
Pull the cable off the transmission, and watch the shaft that normally engages the speedo cable. It should turn while the car moves.
-MechanicMatt
What this means to you is that the failure has to do with the speedometer gear shown below. Remove this piece from the transmission and inspect the nylon gears for wear.
http://i77.photobucket.com/albums/j64/isc20/78829411.gif
The tube is a Vehicle Speed Sensor (VSS), from what I've been able to determine. It has two black wires coming out of it and it reads 12 volt only.
The mechanic at the auto shop told me the code says the VSS is bad and it must be replaced...
You're wrong and your mechanic is wrong. The VSS is located inside the instrument cluster and is driven by the cable from the transmission. As I told you before the ONLY electrical thing on that transmission is the REVERSE LIGHT switch, which is what you're describing here. The reason you're getting a DTC for the VSS is because your speedometer gear (bolted to trans) is not spinning the cable for some reason and the PCM (POWERTRAIN control module, btw) is not getting a signal from the VSS located inside the INSTRUMENT cluster as a result.
...still I have no speedometer/odometer and don't have the little green light that indicates the best shift points for fuel economy.
The PCM needs pulses from the VSS in order to know when to illuminate the shift light. The odometer is not working because it is driven by the speedometer.
Don't buy a VSS. It is not your problem. Do what I told you to do and report back and we can go from there.
Also, be sure your speedo cable is seated all the way down before we go any further. The end of the cable should sink about 1/2in. down into the speedo gear housing. If you're unsure, stop on some flat ground with the car in neutral and the parking brake off so you can push the car while you push the cable down into the speedo gear housing, this is a surefire way to sink it down all the way.
Another thing you should do before posting back and probably before removing the speedo gear from the trans is:
Pull the cable off the transmission, and watch the shaft that normally engages the speedo cable. It should turn while the car moves.
-MechanicMatt
GeoRandy
03-22-2008, 12:47 PM
The weather is great today and I am going out right now and check this out.
Thanks 91Caprice9c1, I'll let you know how it goes.
Thanks 91Caprice9c1, I'll let you know how it goes.
GeoRandy
03-22-2008, 03:32 PM
91Caprice9c1,
Great picture. I have done all that you said and here is what I think the problem is... There is a (tube) that fits into the picture that you sent and it has this written on it: "Remco,RECREATIONAL EQUIP. MFG. CORP., OMAHA. NEBRASKA 68127, SPEEDOMETER DISCONNECT, 12VDC ONLY." Everything below it seems to be working fine (all the stuff in your picture). There must be gears or some connection inside this "speedometer disconnect" that is stripped or has gone bad. It doesn't look like there is any way to open it up to inspect or replace damaged parts inside it. Am I right? I guess I have to find a new (or used, in good working condition) "speedometer disconnect." Am I right? Next, where is a good place to find one to replace my bad one? Local parts store said it shows to be a "dealer part."
Wow, thanks a lot.
Georandy
Great picture. I have done all that you said and here is what I think the problem is... There is a (tube) that fits into the picture that you sent and it has this written on it: "Remco,RECREATIONAL EQUIP. MFG. CORP., OMAHA. NEBRASKA 68127, SPEEDOMETER DISCONNECT, 12VDC ONLY." Everything below it seems to be working fine (all the stuff in your picture). There must be gears or some connection inside this "speedometer disconnect" that is stripped or has gone bad. It doesn't look like there is any way to open it up to inspect or replace damaged parts inside it. Am I right? I guess I have to find a new (or used, in good working condition) "speedometer disconnect." Am I right? Next, where is a good place to find one to replace my bad one? Local parts store said it shows to be a "dealer part."
Wow, thanks a lot.
Georandy
91Caprice9c1
03-24-2008, 01:55 AM
There is a (tube) that fits into the picture that you sent and it has this written on it: "Remco,RECREATIONAL EQUIP. MFG. CORP., OMAHA. NEBRASKA 68127, SPEEDOMETER DISCONNECT, 12VDC ONLY."
I'm confused... the end of the speedometer cable is what should fit into the picture above.
Can you take a picture of this stuff?
-MechanicMatt
I'm confused... the end of the speedometer cable is what should fit into the picture above.
Can you take a picture of this stuff?
-MechanicMatt
GeoRandy
03-24-2008, 09:52 AM
I'll do it after work today. There is a tube that fits above that picture that is labeled as stated and has two wires coming off of it, I guess to send information to the PCM or something ( maybe reverse lights?). Any way I'm hearing that it is a dealer only part. Look for picture later this afternoon. thanks.
GeoRandy
03-24-2008, 05:30 PM
91Caprice9c1,
When you sent me the "I'm confused," message, I started wondering myself what was this that my car has that others maybe don't have. I web searched REMCO and found out that at one time they had made (10 years ago they quit making it) a device that fits between a transmission and a speedometer cable. It turns off the speedometer/odometer (actually it has a clutch in it that disengages from the speedometer cable when the car is being towed, electrically operated by plugging in the tow cable that also provides power to the taillights) so that when being towed the car being towed wouldn't log any mileage. They stopped making it because it drained the battery of the car being towed because the ignition key had to be turned to the accessory position (and that's another story, now they install battery disconnects). Anyway, the original couple who owned my Metro had towed it behind a motorhome, and had this gadget (speedometerdisconnect) installed. It (10 years later) broke, and just my luck I had no idea what it was or how to get another. I thought it was something all Metros had on them. This is my first Metro. I figured for everything to work properly on my Metro and pass safety inspections, I needed to have it replaced.
All that said, I just went out to the parking lot, no tools necessary, pulled the keeper on it, removed it, pulled the keeper on the speedo cable, shoved it in to the picture you showed me, slid the keeper on and drove it down the parking lot and of course the speedometer/odometer work fine now. The check engine light is still on but I am hoping the onboard computer will reset now that the speedometer is turning.
Thanks a lot Mechanic Matt, your confused statement lit my lightbulb.
When you sent me the "I'm confused," message, I started wondering myself what was this that my car has that others maybe don't have. I web searched REMCO and found out that at one time they had made (10 years ago they quit making it) a device that fits between a transmission and a speedometer cable. It turns off the speedometer/odometer (actually it has a clutch in it that disengages from the speedometer cable when the car is being towed, electrically operated by plugging in the tow cable that also provides power to the taillights) so that when being towed the car being towed wouldn't log any mileage. They stopped making it because it drained the battery of the car being towed because the ignition key had to be turned to the accessory position (and that's another story, now they install battery disconnects). Anyway, the original couple who owned my Metro had towed it behind a motorhome, and had this gadget (speedometerdisconnect) installed. It (10 years later) broke, and just my luck I had no idea what it was or how to get another. I thought it was something all Metros had on them. This is my first Metro. I figured for everything to work properly on my Metro and pass safety inspections, I needed to have it replaced.
All that said, I just went out to the parking lot, no tools necessary, pulled the keeper on it, removed it, pulled the keeper on the speedo cable, shoved it in to the picture you showed me, slid the keeper on and drove it down the parking lot and of course the speedometer/odometer work fine now. The check engine light is still on but I am hoping the onboard computer will reset now that the speedometer is turning.
Thanks a lot Mechanic Matt, your confused statement lit my lightbulb.
91Caprice9c1
03-25-2008, 03:03 AM
Haha... wow. Yeah I began to realize that something wasn't adding up. Excellent work with the research.
With time your check engine light will go out, or you can disconnect the battery and clear the code that way, or you can use a code reader or scan tool and do it that way also.
Congratulations, glad we solved your mystery.
-MechanicMatt
With time your check engine light will go out, or you can disconnect the battery and clear the code that way, or you can use a code reader or scan tool and do it that way also.
Congratulations, glad we solved your mystery.
-MechanicMatt
GeoRandy
03-25-2008, 09:33 AM
MechanicMatt,
I really appreciate your help and patience with me. I had one stop after work and when I started her up after that stop the "Check engine soon" light was not on anymore, and it is still off this morning. Yea! I am so happy!
Georandy
I really appreciate your help and patience with me. I had one stop after work and when I started her up after that stop the "Check engine soon" light was not on anymore, and it is still off this morning. Yea! I am so happy!
Georandy
Automotive Network, Inc., Copyright ©2026
