Ideas Anyone?
Blownpiston
11-14-2007, 08:02 PM
90' 3cyl. 1.0 automatic. mileage over100K. What part or item to inspect IF---- Fire at plugs, fuel up to injector. cranks over good. No flow through injector.
HAVE + 12v. @ yellow wire key on @ injector tbi connector. Injector solenoid will spray if i intermittently ground the yellow wire with black tracer @ tbi connector. I suspect ecm is not supplying a ground pulse, on yellow/black wire. Noid light will not light at all when in connector to tbi. But my test light hooked to ground will show power on that yellow positive wire. Please fellas, what should i be looking at next? Bad ecm? COULD the injector resistor cause this symptom? Ideas to try ANYONE. What resistance should a check of the resistor show in ohms? Sorry for such long wind. I just need help and trying to give at what little i already know on this thing. Thanks to all.
HAVE + 12v. @ yellow wire key on @ injector tbi connector. Injector solenoid will spray if i intermittently ground the yellow wire with black tracer @ tbi connector. I suspect ecm is not supplying a ground pulse, on yellow/black wire. Noid light will not light at all when in connector to tbi. But my test light hooked to ground will show power on that yellow positive wire. Please fellas, what should i be looking at next? Bad ecm? COULD the injector resistor cause this symptom? Ideas to try ANYONE. What resistance should a check of the resistor show in ohms? Sorry for such long wind. I just need help and trying to give at what little i already know on this thing. Thanks to all.
GM Line Rat
11-15-2007, 09:36 AM
Have you tried to put a "Small Amount" of fuel, directly into the TB Bore and start the car? I take a regular drinking straw with my finger over the end and stick it in the gas can....This is enough fuel to see it the engine will temp fire?
Back on topic:
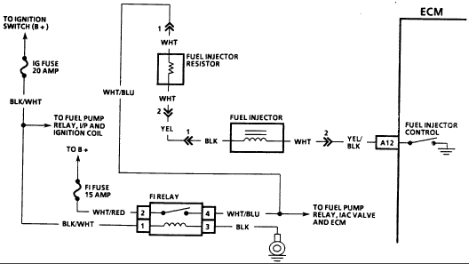
If your getting 12V at the yellow injector wire, And it sprays when you apply a ground signal to it, The fuel injector is driven by its solenoid coil based upon the ECM output signal. I Would trace back the Yellow /Black Stripe fuel injector wire....All the way to the ECM and inspect it for any damage or a poor connection at the ECM (Cavity A12), And also inspect the ECM Grounds to be clean and tight....If all looks good, Follow these flows charts for testing the FI system.
CIRCUIT DESCRIPTION
When the solenoid coil of the fuel injector is energized by the Engine Control Module (ECM) , it will activate the plunger and pressurized fuel will be injected into the Throttle Body Fuel Injection (TBI) unit. The fuel pump will operate as long as the engine is cranking, and the ECM is receiving ignition reference pulses. If the ECM does not receive any reference pulses, the fuel pump will stop after three seconds.
TEST DESCRIPTION
Numbers below refer to circled numbers on the diagnostic chart.
1. Checks to see if the ECM is controlling the fuel injector signals.
2. Checks the fuel injector for correct resistance.
3. Checks for voltage at fuel injector.
4. Checks for an open or short to ground in YEL/BLK wire, a faulty ECM or a faulty fuel injector.
5. Checks for an open or short to ground in YEL wire, an open in WHT/BLU wire or for a faulty fuel injector resistor.
DIAGNOSTIC AIDS
There may be fuel spray at the fuel injector, but it may not be enough to start the engine. If both the fuel injector and the circuit are OK, the fuel injector nozzle may be partly blocked.
http://i25.photobucket.com/albums/c83/MrBBody/FuelInjector1.gif
http://i25.photobucket.com/albums/c83/MrBBody/FuelInjector2.gif
http://i25.photobucket.com/albums/c83/MrBBody/ECMPlug.gif
#6 Fuel Injector Resistor
http://i25.photobucket.com/albums/c83/MrBBody/FuelInjectorResistor.gif
Back on topic:
If your getting 12V at the yellow injector wire, And it sprays when you apply a ground signal to it, The fuel injector is driven by its solenoid coil based upon the ECM output signal. I Would trace back the Yellow /Black Stripe fuel injector wire....All the way to the ECM and inspect it for any damage or a poor connection at the ECM (Cavity A12), And also inspect the ECM Grounds to be clean and tight....If all looks good, Follow these flows charts for testing the FI system.
CIRCUIT DESCRIPTION
When the solenoid coil of the fuel injector is energized by the Engine Control Module (ECM) , it will activate the plunger and pressurized fuel will be injected into the Throttle Body Fuel Injection (TBI) unit. The fuel pump will operate as long as the engine is cranking, and the ECM is receiving ignition reference pulses. If the ECM does not receive any reference pulses, the fuel pump will stop after three seconds.
TEST DESCRIPTION
Numbers below refer to circled numbers on the diagnostic chart.
1. Checks to see if the ECM is controlling the fuel injector signals.
2. Checks the fuel injector for correct resistance.
3. Checks for voltage at fuel injector.
4. Checks for an open or short to ground in YEL/BLK wire, a faulty ECM or a faulty fuel injector.
5. Checks for an open or short to ground in YEL wire, an open in WHT/BLU wire or for a faulty fuel injector resistor.
DIAGNOSTIC AIDS
There may be fuel spray at the fuel injector, but it may not be enough to start the engine. If both the fuel injector and the circuit are OK, the fuel injector nozzle may be partly blocked.
http://i25.photobucket.com/albums/c83/MrBBody/FuelInjector1.gif
http://i25.photobucket.com/albums/c83/MrBBody/FuelInjector2.gif
http://i25.photobucket.com/albums/c83/MrBBody/ECMPlug.gif
#6 Fuel Injector Resistor
http://i25.photobucket.com/albums/c83/MrBBody/FuelInjectorResistor.gif
Blownpiston
11-15-2007, 11:19 AM
GM Line Rat, going out to garage in a few, and start checking. Thanks for steering me in the proper direction.
i have been a member of board a long time, but just enjoyed looking, and listening to everyone. Guess its just my turn at the wheel.Automotive Forums is the BEST!
i have been a member of board a long time, but just enjoyed looking, and listening to everyone. Guess its just my turn at the wheel.Automotive Forums is the BEST!
HannabilRox
11-15-2007, 01:21 PM
Fuel injector resistance should be .5 to 1.5 ohms. Fuel injector resistor should be 1.9 to 2.1 ohms.
Go to www.autozone.com and click on Repair Info then Repair Guides. The guide for your Metro is there. It has a good troubleshooting section.
Go to www.autozone.com and click on Repair Info then Repair Guides. The guide for your Metro is there. It has a good troubleshooting section.
Blownpiston
11-15-2007, 02:14 PM
HannabilRox, thank you. i thank everyone else too! i feel like Hommer Simpson, trying to operate a nuclear reactor!
God, how i wish i was back inthe middle of the North Atlantic at sunset, know what i mean? i will download autozone stuff, thanks for the tip.
God, how i wish i was back inthe middle of the North Atlantic at sunset, know what i mean? i will download autozone stuff, thanks for the tip.
Automotive Network, Inc., Copyright ©2026
