98 metro floods
Durtle
11-10-2007, 08:45 PM
I have a 98 metro when you first start it the car runs for about 20 sec. then dies go to restart it it floods . Have replaced ECM, Coolant temp sensor and map sensor . Any suggestions ?
91Caprice9c1
11-11-2007, 01:35 AM
1) 3cyl or 4cyl?
2) Were any repairs performed prior to this happening?
3) How did you come about noticing this; ie - tried to start it one morning, died on the highway etc..
4) Have you scanned for DTCs / Is the check engine light on?
===============================================
If you know for sure it's drowning in fuel, the first thing I'd do is check the fuel pressure.
-MechanicMatt
2) Were any repairs performed prior to this happening?
3) How did you come about noticing this; ie - tried to start it one morning, died on the highway etc..
4) Have you scanned for DTCs / Is the check engine light on?
===============================================
If you know for sure it's drowning in fuel, the first thing I'd do is check the fuel pressure.
-MechanicMatt
Woodie83
11-11-2007, 08:35 AM
Fuel Pressure Regulator and Fuel Injector are known to fail. Look down the throttle body to see if gas is dripping out of the injector and check the fuel pressure as Matt suggested. Also the cat may have melted down blocking exhaust from escaping, without enough airflow there will quickly be an excess of gas. Unbolt the exhaust at the bottom of the manifold and see if it will run.
91Caprice9c1
11-11-2007, 05:32 PM
No DTC bought the car this way. But if you keep trying and let it stumble around long enough for the temp on scan toll to come up the car will eventually clear out and run ok . Doesn't idle up when you put it under loads either like it should {headlight or A/C On. Thanks for any suggestions
For future reference, this is the kind of information we need not left out. Please post as much detail about your problems! It helps us help you.
Also, is this a 3cyl or a 4cyl?
...Also the cat may have melted down blocking exhaust from escaping, without enough airflow there will quickly be an excess of gas. Unbolt the exhaust at the bottom of the manifold and see if it will run.
^+1 Heed Woodie's advice. It is possible that the cat when cold could be restricting, and then after heating up, expand enough to allow decent air flow.
Check that the TPS is properly adjusted.
-------
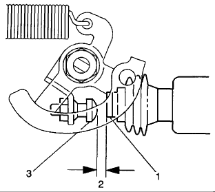
Insert a 3.5 mm (0.14 in.) feeler gage (2) between the throttle stop screw (1) and the throttle lever (3).
http://i77.photobucket.com/albums/j64/isc20/86423803.gif
1) Inspect the idle speed control (ISC) motor plunger. If the ISC motor plunger (1) is contacting the throttle lever screw (3), then the engine must be brought to operating temperature. There must be no contact (2) between the ISC motor plunger and the throttle lever screw.
http://i77.photobucket.com/albums/j64/isc20/86423804.gif
2) Back probe the throttle position (TP) sensor signal circuit at the powertrain control module electrical connector to ground.
Turn ON the ignition.
3) Observe the TP sensor voltage on the DMM. The TP sensor voltage reading should be 0.98 to 1.02 volts.
If the TP sensor voltage IS NOT 0.98 to 1.02 volts, loosen the TP sensor screws (1) and turn the TP sensor until the voltage reading is 0.98 to 1.02 volts.
http://i77.photobucket.com/albums/j64/isc20/86423805.gif
If a TP sensor voltage reading of 0.98 to 1.02 volts cannot be obtained, replace the TP sensor.
-------------
It would behove you to check the fuel pressure, and ignition timing for good measure.
If you are good with a DIGITAL volt-ohm meter, here are the ISC and Idle-Up wiring diagrams.
ISC:
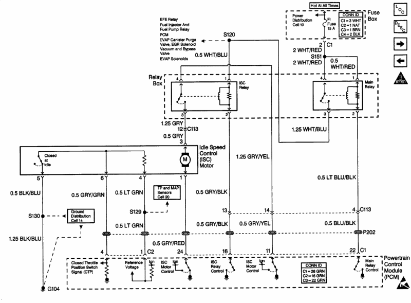
http://i77.photobucket.com/albums/j64/isc20/isc.gif
and Idle Up:
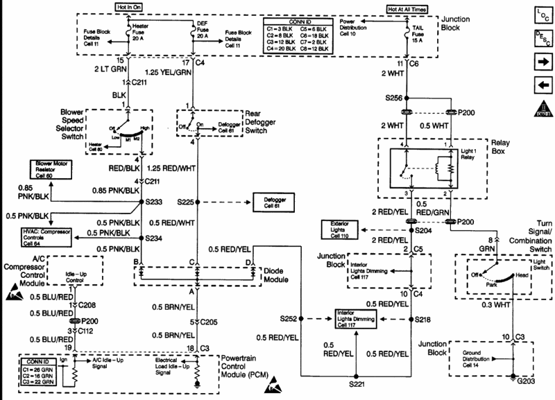
http://i77.photobucket.com/albums/j64/isc20/78725610.gif
If you'd like assistance with the ISC and Idle Up diagrams above, post back and we'll walk you through some circuit testing.
-MechanicMatt
For future reference, this is the kind of information we need not left out. Please post as much detail about your problems! It helps us help you.
Also, is this a 3cyl or a 4cyl?
...Also the cat may have melted down blocking exhaust from escaping, without enough airflow there will quickly be an excess of gas. Unbolt the exhaust at the bottom of the manifold and see if it will run.
^+1 Heed Woodie's advice. It is possible that the cat when cold could be restricting, and then after heating up, expand enough to allow decent air flow.
Check that the TPS is properly adjusted.
-------
Insert a 3.5 mm (0.14 in.) feeler gage (2) between the throttle stop screw (1) and the throttle lever (3).
http://i77.photobucket.com/albums/j64/isc20/86423803.gif
1) Inspect the idle speed control (ISC) motor plunger. If the ISC motor plunger (1) is contacting the throttle lever screw (3), then the engine must be brought to operating temperature. There must be no contact (2) between the ISC motor plunger and the throttle lever screw.
http://i77.photobucket.com/albums/j64/isc20/86423804.gif
2) Back probe the throttle position (TP) sensor signal circuit at the powertrain control module electrical connector to ground.
Turn ON the ignition.
3) Observe the TP sensor voltage on the DMM. The TP sensor voltage reading should be 0.98 to 1.02 volts.
If the TP sensor voltage IS NOT 0.98 to 1.02 volts, loosen the TP sensor screws (1) and turn the TP sensor until the voltage reading is 0.98 to 1.02 volts.
http://i77.photobucket.com/albums/j64/isc20/86423805.gif
If a TP sensor voltage reading of 0.98 to 1.02 volts cannot be obtained, replace the TP sensor.
-------------
It would behove you to check the fuel pressure, and ignition timing for good measure.
If you are good with a DIGITAL volt-ohm meter, here are the ISC and Idle-Up wiring diagrams.
ISC:
http://i77.photobucket.com/albums/j64/isc20/isc.gif
and Idle Up:
http://i77.photobucket.com/albums/j64/isc20/78725610.gif
If you'd like assistance with the ISC and Idle Up diagrams above, post back and we'll walk you through some circuit testing.
-MechanicMatt
Automotive Network, Inc., Copyright ©2026
